塑料檢查井的安裝與施工詳解
日期:2021-03-17 14:25:37 / 人氣:2654 / 來源:本站
1.1 一般規定
1.1.1 排水檢查井安裝施工前,應與排水管道工程同時做好技術交底工作。
1.1.2 施工單位應編制詳細的施工組織方案。
1.1.3 施工單位應根據設計文件編制“塑料排水檢查井工程備料表”。
1.1.4 “塑料排水檢查井工程備料表”應按檢查井的井位編號逐個進行填寫。
1.1.5 檢查井部件的進場質量查驗應按以下要求進行:
1 查驗部件的產品質量合格證和檢驗報告;
2 查驗部件的規格型號、接口管徑、接管數量;
3 查驗部件的外觀質量、尺寸偏差等。
1.1.6 查驗后的檢查井部件,應按井位的編號進行有序碼放。
1.1.7 檢查井井底座下溝前應對井底座的地基進行驗收。當發現地基被擾動、超挖、受水浸泡,或存在不良地基、不良土層時,應經處理達到設計要求后,方可進行施工。
1.1.8 檢查井部件宜采用人工或機械設備吊裝下溝。吊裝時應采用非金屬繩(帶)吊裝。
1.1.9 檢查井井底座與管道連接時,井底座基坑超挖部分應及時用級配砂石或中粗砂回填壓實,并符合設計要求。
1.1.10 檢查井井底座與管道連接時,應采用專用收緊機具進行連接,但應注意不得對已連接的管道造成不良影響。
1.1.11 檢查井各組件之間的連接,以及與排水管道之間的連接必須保證長期可靠的密封性能,并具有一定的抗不均勻沉降能力。
1.1.12 檢查井在安裝、回填過程中,井底部不得有積水或冰凍。
1.1.13 檢查井井蓋的安裝應與道路路面施工同時進行。
1.1.14 聚氯乙烯類和聚丙烯類檢查井在冬季施工時,應在氣溫高于-5℃的環境下進行施工。
1.1.15 當檢查井與排水管道采用彈性橡膠密封圈承插連接時,橡膠圈在承載外力的條件下,應處于彈性變形范圍內。
1.2 基坑與基礎
1.2.1 井底座的基坑開挖,應在排水管道基礎施工完成后進行。井底座主軸線應與排水管道主軸線一致。
1.2.2 井底座基礎做法應根據地質資料和回填土下曳力,經結構設計確定,且不應低于下列*低要求:
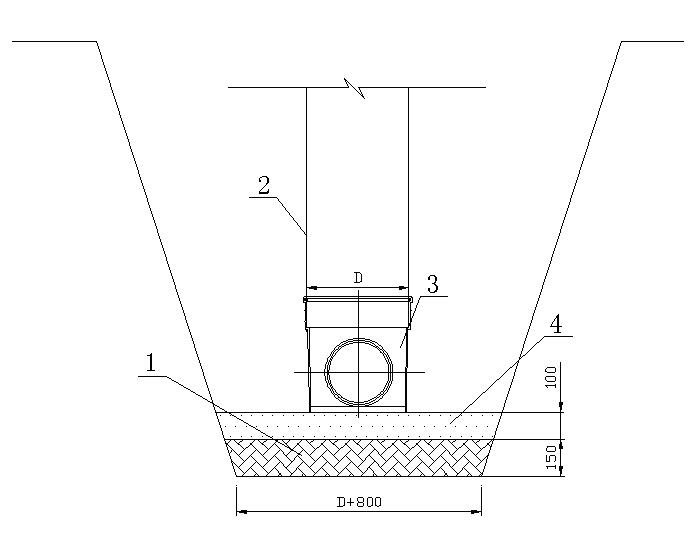
1 砂土、巖石、砂礫土的土質時,可在坑內填鋪厚度不小于100mm的中粗砂墊層,見圖1.2.2-1;

圖1.2.2-1 井底座基礎(一)
1—中粗砂墊層;2—井壁;3—井底座
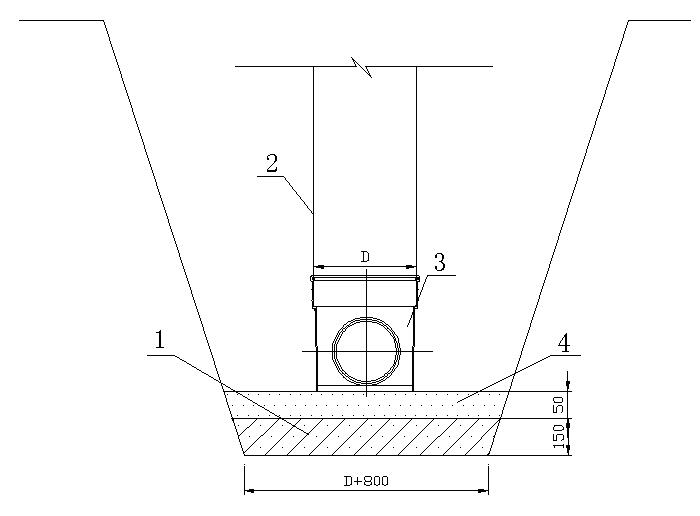
2 軟土的土質時,可在坑內填鋪150mm碎石或礫石(粒徑5mm~40mm)層,夯實后再鋪50mm中粗砂墊層,見圖1.2.2-2;

圖1.2.2-2 井底座基礎(二)
1— 碎石或礫石;2—井壁;3—井底座;4—中粗砂墊層
3 濕陷性黃土的土質時,基坑原土夯實后,鋪墊100mm~150mm三七灰土墊層并夯實,夯實后再鋪100mm中粗砂墊層,見圖1.2.2-3。

圖1.2.2-3 井底座基礎(三)
1—三七灰土;2—井壁;3—井底座;4—中粗砂墊層
4 砂石墊層的厚度不宜小于管道墊層的厚度,壓實系數不宜小于0.95。
1.2.3 有沉泥槽的檢查井基坑開挖,要根據沉泥槽的尺寸進行局部開挖,并填鋪100mm中粗砂墊層。
1.3 井底座與接管
1.3.1 檢查井與排水管道的連接安裝順序為:
1 建筑小區應從管道的上游向下游延伸的順序進行安裝;
2 市政管道應從管道的下游向上游延伸的順序進行安裝;
3 以井→管→井→管順序安裝;
4 在管道基礎的軸線上,先確定井的中心位置;按井底座的尺寸開挖基坑,鋪設墊層;調整井底座基礎標高,然后進行井底座的安裝,并與管道連接。
1.3.2 檢查井井底座的安裝,應遵守下列規定:
1 井底座在下溝前,應對井底座部件的編號、規格、接管管徑等進行復核;
2 井底座下溝后,先用臨時墊塊,對井底座的中心、主軸線、井底標高和井底座水平進行調整。當它符合設計要求后,采用砂土袋等措施進行臨時固定,并填充中粗砂,取出墊塊;
3 井底座安裝時,不得擾動基礎墊層。當基礎墊層受到損壞時,應采取有效的補救措施。
1.3.3 井底座的校正與固定,應按下列規定進行:
1 水平校正可采用氣泡水平尺進行。校正時,先校管道軸線方向,后校與管道軸線垂直方向;
2 井底座的軸線校正可采用拉線方式進行;
3井底座的標高校正,應采用水準儀進行;
4校正過程中,隨即可用少量中粗砂將井底座進行臨時固定。
1.3.4 對帶有倒空腔的井底座,宜采用C15混凝土灌滿并固化后,進行下溝安裝。
1.3.5 井底座接口與管道的連接,應符合現行標準的規定,并按下列要求進行:
1 接口的連接施工方法應與管道管材的連接施工方法相適應;
2 井底座接口與塑料管道的連接需要變徑時,宜采用變徑接頭。當進水管管徑小于井底座接口口徑時,應管頂平接;
3 井底座接口與非塑料管道相接時,應采用專用過渡接頭進行連接。當過渡接頭與井底座接口采用承插連接,而與非塑料管道采用機械壓緊連接時,宜再采用熱收縮帶進行補強;
4 井底座接口和鋼帶增強螺旋管相接時,應采用專用過渡接頭進行連接。當過渡接頭與井底座接口采用承插連接,而與鋼帶增強螺旋管采用焊接連接時,宜再采用熱收縮帶進行補強;
5 與其他管材連接時,應采用現行標準和規范規定的連接方法進行連接。
1.4 井壁管、井壁收口錐體與接管
1.4.1 井壁管的長度應根據檢查井的埋深和檢查井井蓋座的設計標高,經計算確定。
1.4.2 塑料井壁管切割時,切口應平整,與管材軸線相垂直,尚可留有一定的富余長度。
1.4.3 井壁管與井底座的連接宜采用彈性橡膠密封圈承插或熱收縮套(帶)等方式進行連接。
1.4.4 井壁管的安裝與連接,應按下列規定進行:
1 井壁管與井底座的連接,應在井底座安裝后進行;
2 插接時,應采用專用的收緊工具,不得使用重錘直接敲打,并及時調整井壁管的垂直度;
3 當井底座井位中心和井壁管垂直度調整好后,應進行及時固定,并臨時封堵管口;
4 在插接前,應對井壁管內壁的斷面尺寸進行測量,并做好記錄。
1.4.5 在井壁管上接入排水支管時,可根據支管的數量,采用井壁接管件或井壁活接頭進行連接。
1.4.6 在井壁管上,采用井壁活接頭接入排水支管時,可在現場開孔連接,但兩個活接頭邊緣凈間距不應小于100mm;接入排水支管管徑不應大于315 mm,同時接頭不得倒坡。
1.4.7 在直壁式檢查井上,采用井壁接管件接入排水支管時,可按下列順序進行:
1 在井底座安裝后進行;
2 根據接入支管管底標高和井底座上承口底部標高之差,截取**節井壁管的長度,并將它插入到井底座上承口中;
3 然后將井壁接管件插到**節井壁管上,并封堵接入支管接口;
4 接著再將第二節井壁管插入井壁接管件上,并及時封堵管口;
5 應及時調整檢查井的垂直度,并加以固定。
1.4.8 在收口式檢查井上,采用井壁接管件接入排水支管時,應按下列規定:
1 在井壁的同一高程處,需接入來自不同方向的1~3根排水支管時,應采用井壁接管件,并采用專用的收緊機具進行連接,接頭不得倒坡。
2 在井壁的同一高程處,需接入來自同一方向的2~3根排水支管時,宜先采用匯流接管件合流后,然后通過井壁接管件接入檢查井,并采用專用的收緊機具進行連接,接頭不得倒坡。
1.4.9 在收口式檢查井上,安裝井壁收口錐體時,應按下列要求進行:
1 井壁收口錐體上口離地面的高度應按設計要求進行;
2 采用專用工具將井壁收口錐體安裝在井壁管上,然后再接上井筒;
3 井筒長度宜留出一定的富余量,并高出地面。
1.4.10 井壁(筒)安裝完畢的檢查井,應根據溝槽內地下水的狀況,及時采取防漂浮的措施。
1.5 雨水口
1.5.1 雨水口的安裝,應按下列順序進行:
1 道路路基完工或草坪地面平整后,開挖雨水口與雨水支管的溝槽;
2 按雨水口的標高和雨水支管的坡度,在雨水檢查井的井壁管上開孔,并安裝井壁活接頭;
3 井壁活接頭安裝好后,再連接并鋪設雨水支管,同時臨時封堵雨水支管管口;
4 在安裝道路路緣石的同時開挖雨水口基坑,并安放雨水口,接好雨水支管后,用中細砂填實并穩固。
1.5.2 道路上安置雨水口時,應根據路面的高程調整好高度,并采取適當的措施加以保護。
1.6 閉水試驗
1.6.1 檢查井的閉水試驗應與排水管道系統的閉水試驗同時進行。
1.6.2 閉水試驗的方法與排水管道系統的試驗方法相同。
1.6.3 閉水試驗的結果應以井為單位進行記錄。若有滲漏時,應采取有效措施進行修補。
1.7 回填
1.7.1 回填應在閉水試驗合格后進行。
1.7.2 回填前,可采用砂土袋等措施對檢查井進行臨時固定,且井坑內不得有積水。
1.7.3 檢查井回填的縱向長度,每側為井壁管管徑的3倍;回填的橫向寬度,至兩側槽幫,且每側回填材料的寬度不小于400mm。
1.7.4 回填材料不得采用淤泥、淤泥質土、濕陷性土、膨脹土、凍土,*大粒徑不得超過40mm,同時不得夾雜石塊、磚頭等尖硬的物體。壓實系數為0.95,并不小于道路或地面設計要求。
1.7.5 井壁周圍的回填應采用人工分層、對稱回填、夯實。應嚴格控制井壁管的初始變形量,嚴禁機械回填。
1.7.6 井壁(筒)管周圍≥100mm寬的范圍內,宜采用中粗砂、砂卵石、爐渣或爐渣石灰土等非凍脹性材料進行回填。當井壁(筒)采用聚乙烯纏繞結構壁管時,井壁(筒)管周圍≥100mm寬的范圍內,應采用非凍脹性材料進行回填。
1.7.7 回填時間應選擇在日氣溫變化較小的時段內進行。
1.8 承壓板與井蓋
1.8.1 承壓板的安裝應與道路路面同時施工,宜采用預制鋼筋混凝土承壓板。
1.8.2 承壓板的孔口內徑應大于井壁(筒)的外徑。承壓板上邊緣與井筒上邊緣的距離不應小于100mm。
1.8.3 承壓板下應鋪設300mm的墊層作基礎。墊層材料可采用級配砂石、路床材料或C20混凝土。
1.8.4 承壓板墊層鋪設前,應在井壁(筒)外側放置擋圈,并在井壁(筒)與擋圈之間的縫隙中做好防滲水措施。
1.8.5 承壓板吊裝就位前,應先用小木樁在墊層上進行定位,保證承壓板孔口與井壁(筒)同心。
1.8.6 道路路面施工時,再將檢查井井蓋放置在承壓板上。
作者:admin
推薦內容 Recommended
- 管道驗收的10大標準05-04
- HDPE雙壁纏繞管如何進行連接05-04
- 塑料檢查井回填規定04-17
- 塑料檢查井井筒安裝常見問題04-17
- 塑料檢查井的全面介紹04-17
- 城市發展和塑料檢查井之間的關系04-06
相關內容 Related
- 管道驗收的10大標準05-04
- HDPE雙壁纏繞管如何進行連接05-04
- 塑料檢查井回填規定04-17
- 塑料檢查井井筒安裝常見問題04-17
- 塑料檢查井的全面介紹04-17
- 城市發展和塑料檢查井之間的關系04-06



